
XPEX 3/4 Straight Coupling w/Extended Barbs / 3-Pack
Extended Barb PEX 3/4 Inch Coupling ~ XPEX !!
$10.95
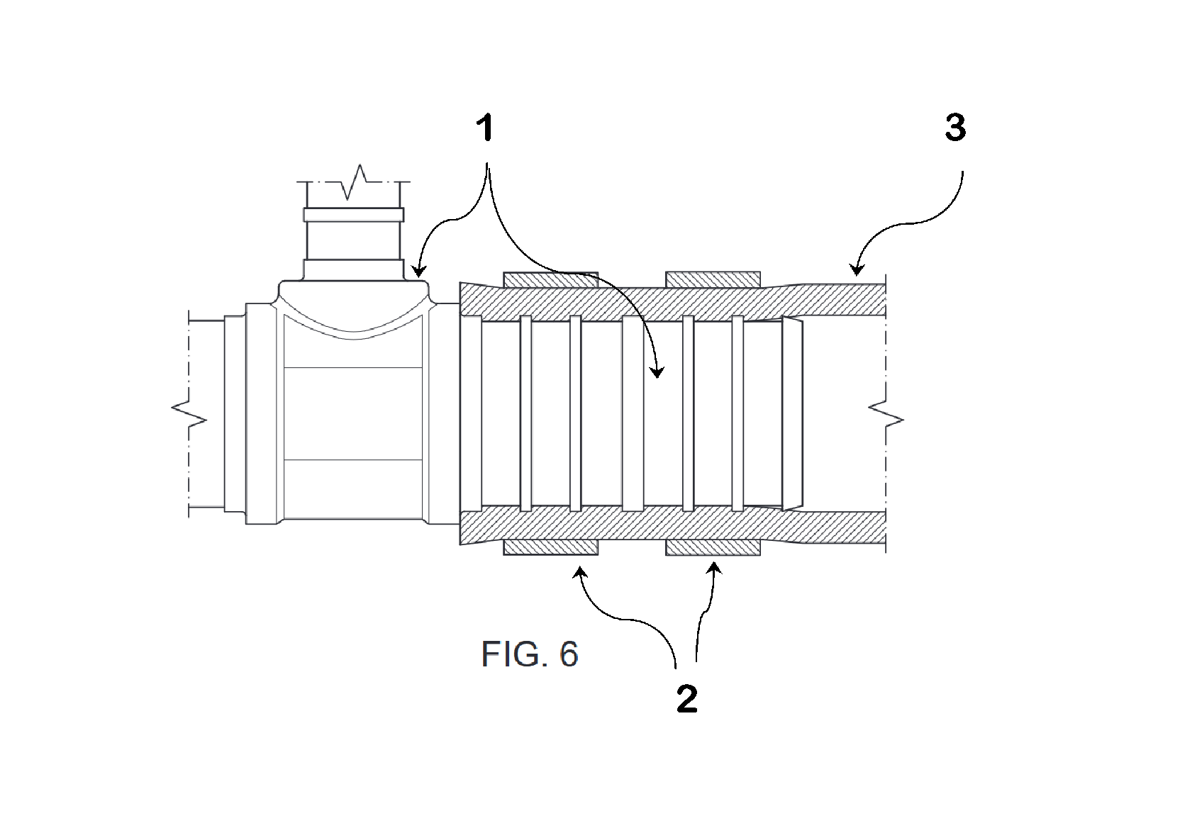
XPEX 3/4-inch straight coupling with Extended Barbs. Discover XPEX plumbing fittings designed with extended barbs for enhanced security. Each barb allows for two clamps, providing low-cost insurance against leaks. Where you were 99% sure of no leaks with a single clamp, now with XPEX you can be 99.99% sure!! All fittings are lead free!
Ideal for qualified plumbing technicians, these fittings ensure peace of mind and reliability in daily tasks. With a patent pending, XPEX is revolutionizing plumbing solutions. Invest in quality and safeguard your work from costly leaks today! Perfect for in-wall or above ceiling installations where callbacks to fix leaks are not only costly for the property owner but also eat into your profits. Especially important on hydronic heating systems where tubing softens due to high water temperature.
Don't take a chance, use XPEX !!! Keep several in your work van and have them on hand when insurance against leaks are important. This product was developed because we saw the need in daily plumbing operations.
Sold 3 per Poly bag. Price is per bag.
Buy on Amazon.com Today! CLICK HERE
Certified Lead Free for Potable Water Use
Sold Three Fittings Per Poly Bag
Barb Length 1.2 Inches (30mm)
Barb Length Allows Use Of Two Clamps Per Barb
Proven PEX Clamping Surface Design
Especially Effective With Leak Prone Hydronic Heating (due to high temp of water softening the PEX tubing)
Reduce Chance of Leaks by 99.99%
Low Cost Insurance Against Costly Leaks
Quality - Reliability
Reliable XPEX plumbing fittings for peace of mind.
© 2025. All rights reserved. XPEX, div. of PB Supply, Inc., POB 303, Manchaug MA 01526-0303
Extended Barb PEX Fitting. Discover XPEX's innovative PEX plumbing fittings with extended barbs. Our dual-clamp design ensures maximum leak protection, providing peace of mind for plumbing professionals. Invest in low-cost insurance against costly leaks....
